产品展示
韩国三和EVR-FD电动机保护器
首页 / 产品中心 / 电子式电压继电器(AC)
产品标题:韩国三和EVR-FD电动机保护器
产品ID:VIB20090706202619734
品  牌:韩国三和EOCR
所在地:中国 上海
价  格:面议 (大量采购价格面议)
库存状态:货期待查
更新日期:2025-10-31 17:47:44
咨询电话:(+86)021-51699285
咨询Q Q: 2695337323
产品简述

 

基于MCU和ASIC的密集型设计
多种类型保护
宽的电压调整范围
数字电压表和数字设定
跳闸原因显示和查找故障原因方便
手动/电动/自动复位
自动复位时间可调
环境适应性强

产品详情

 

韩国三和EVR-FD 保  护
 

开关名称

位置

开“ON” 关“OFF”
逆相(逆相保护) 有效 失效
电压不平衡 有效 失效
选择复位方式 自动 人工
自动复位时间 5秒(脱扣后延迟5秒复位) 1秒(脱扣后延迟1秒复位)
 
韩国三和EVR-FD 技术条件
 

电压设定
型号

范围

欠电压OVR
(连续可调)
过电压UVR
(连续可调)
220 160-240V 220-300V
440 300-440V 380-500V

延时设定

脱扣延时时间(O-time) 0.5-10秒,可调。
缺相 2秒
逆相 0.5秒
相电压不平衡 电压偏差±5%(按O-time动作)
供电电压
220 85-250V AC 50/60HZ
可选 可选

触点

形式 1-SPDT(1C)
容量 3A/250V(AC)
静态 NO-COM常开
NC-COM常闭
时间特性
定时限
显示窗
工作时 循环显示三相电压
脱扣后 显示动作原因及对应的动作电压值

脱扣指示

显示窗7段LED显示

安装方式

35毫米固定/道轨式
 
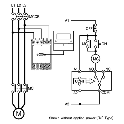
韩国三和EVR-FD 典型参考图/接线图/安装尺寸图
 

型号名称

装箱数

价格

韩国三和EVR-FD 110NZ6/Z5M

10

询价

韩国三和EVR-FD 220NZ6/Z5M

10

询价

韩国三和EVR-FD 440NZ6/Z5M

10

询价